Toggle menu
Sign in
or
Register
Shop
Menu
Categories
New Holland
New Holland
Service Kits
Service Kits
Tools, Parts & Implements
Tools, Parts & Implements
Toys & Collectables
Toys & Collectables
Navigation
Find Your Serial Number
Search
About Us
Contact Us
Returns
Privacy Policy
Blog
Brands
New Holland
Yanmar
Braber
K&M Manufacturing
Stihl
Bad Boy
Kawasaki
Woods
Earth & Turf
Kress
View all Brands
Find Your Serial Number
Search
About Us
Contact Us
Returns
Privacy Policy
Blog
866-927-3340
Home
New Holland
Tractors
TC30
03 Transmission
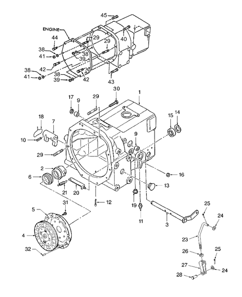
TC30 03-07A04 CLUTCH & CLUTCH CASE, W/HST
TC30 03-07A04 CLUTCH & CLUTCH CASE, W/HST
New Holland
(You save
)
SKU:
TC30-07A04
Current Stock:
Quantity:
Decrease Quantity:
Increase Quantity:
Adding to cart… The item has been added
×
Product Overview
Diagram of all the parts for the TC30 CLUTCH & CLUTCH CASE, W/HST
Related Products
New Holland
TC29DA 03-03.03 CLUTCH & CLUTCH CASE, W/HST
New Holland
TC30 03-07A02 CLUTCH & CLUTCH CASE, W/9 X 3 TRANSMISSION, DOUBLE
New Holland
T2220-03.03 - CLUTCH & CLUTCH CASE, W/HST
New Holland
TC30 03-07D01 FRONT TRANSMISSION CASE & SHIFTER, W/HST
New Holland
TC30 03-07I01 HST ASSEMBLY
Close
×
OK
Join our newsletter
Email Address