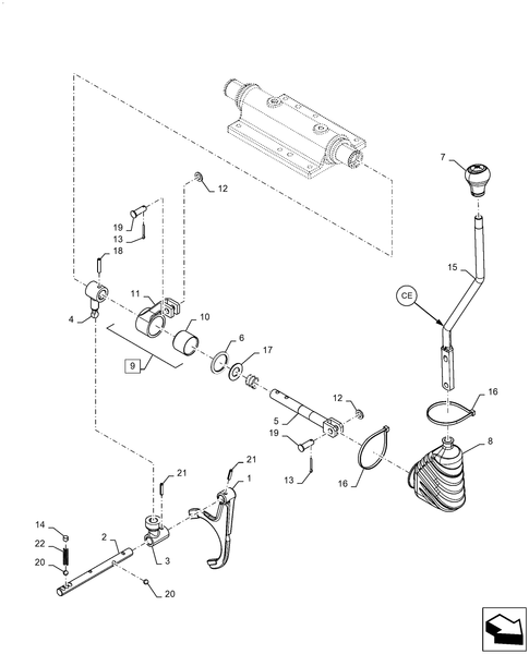
Workmaster 50-21.130.AZ[05] - CENTRAL REDUCTION GEAR, CONTROL

New Holland

SKU:
WORKMASTER 50-21.130.AZ[05]

Product Overview

Diagrams of all the parts for the Workmaster 50-21.130.AZ[05] - CENTRAL REDUCTION GEAR, CONTROL at BRIM:Parts.