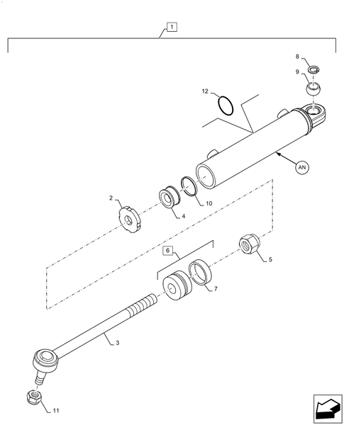
Workmaster 60 - STEERING CYLINDER, 2WD

New Holland

SKU:
WORKMASTER 60-41.216.AN[01]

Product Overview

Diagram of all the parts for the Workmaster 60 - STEERING CYLINDER, 2WDat BRIM:Parts.